
Der Gabelstapler-Kraftstoffraub
Die Kraftstoffkosten für Gabelstapler betragen mehrere tausend Euro im Laufe eines typischen Einsatzzyklus. Bei intensiver Anwendung kommt schnell noch mehr zusammen.
Bei den zunehmenden Kraftstoffpreisen führen selbst die kleinsten Verbesserungen in der Treibstoffeffizienz zu großen Ersparnissen – Geld, auf das kein Unternehmen verzichten kann.
Die Studie zeigt einen überraschend großen Unterschied zwischen den Kraftstoffverbrauchsangaben der Hersteller und den Zahlen von „realen“ Staplern.
Der Kraftstoffverbrauch ist eine Größe, die beim Kauf eines Staplers oft unberücksichtigt bleibt, tief vergraben in den Datenblättern des Herstellers. Und wenn die angegebenen Zahlen im Vergleich nicht gut aussehen, kann man es dem Verkäufer wohl kaum übel nehmen, wenn er nicht ausdrücklich darauf aufmerksam macht. Es gibt sogar Fälle, in denen der Kraftstoffverbrauch gar nicht angegeben wird.
In diesem Artikel zeigen wir Ihnen, worauf Sie zu achten haben, wie Sie den Verbrauch messen können und geben Ihnen eine Vorstellung davon, wie viel Geld Sie sparen könnten – um es statt dessen für etwas anderes auszugeben.
Lesen Sie weiter und Sie werden sehen, dass die Differenz der Kraftstoffkosten zweier Stapler von unterschiedlichen Herstellern im gleichen Einsatz bis zu 12.000 Euro in fünf Jahren ausmachen kann. Eine unglaubliche Zahl, die mit den steigenden Ölpreisen eher wächst und nicht vernachlässigt werden sollte.
Der Verbrauchs-Test
Der Kraftstoffverbrauch von Gabelstaplern findet sich auf dem Datenblatt normalerweise unter der Bezeichnung VDI 60.
Diese Bezeichnung besagt, dass der Stapler einen „Arbeitszyklus“ gemäß dem VDI2198-Testkreis durchlaufen hat (siehe Grafik unten), indem er mit gemäßigter Geschwindigkeit diesen Zyklus sechzigmal in sechzig Minuten gefahren ist. Der Kraftstoffverbrauch für diese Stunde wird dann gemessen.
VDI steht für Verband Deutscher Ingenieure und gibt den anerkannten Standard für den Vergleich des Kraftstoffverbrauchs bei verschiedenen Gabelstaplern vor. Die Praxis jedoch sieht anders aus und ist vor allem auch davon abhängig, wie der Stapler benutzt wird und wie der Fahrer ihn bedient und fährt. Dies kann einen noch bedeutenderen Unterschied ausmachen.
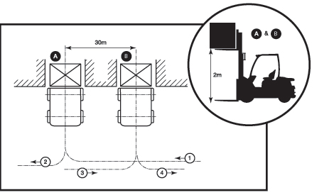
Der Stapler, der getestet wird, fährt zu Punkt A, hebt dort seine maximale Last auf zwei Meter an, kehrt um und fährt zu Punkt B, ca. 30 Meter entfernt, hebt dort seine Last wieder um zwei Meter an, um dann zu seiner Startposition zurückzukehren.

VDI Prüf-Zyklus gemäß VDI2198.
Hier handelt es sich offensichtlich um einen recht intensiven Zyklus. In der Realität wird ein Gabelstapler während einer Schicht nie so dauerhaft intensiv arbeiten, aber das ist das Standard-Messverfahren. Zu einer verlässlichen Schätzung der wirklichen Kraftstoffkosten kommt man, wenn man sich den VDI60 Verbrauch des Herstellers ansieht – und davon ausgeht, dass dieser durchschnittlich auf höchstens 60 % der Zeit oder 4,8 Stunden pro Tag zutrifft.
So können Sie die Totalkraftstoffkosten für sich selbst errechnen:
- Entnehmen Sie die Kraftstoffverbrauchs-Angaben dem Datenblatt des Gabelstaplers
- Multiplizieren Sie die Zahl mit den Kosten pro Liter Diesel oder pro kg Treibgas
- Schätzen Sie, wie viele Stunden pro Tag der Stapler genutzt wird (z. B. 60 % von 8 Stunden per Schicht = 4,8)
- Multiplizieren Sie dies mit den Arbeitsschichten pro Jahr (z. B. 260)
- Multiplizieren Sie dann das Ergebnis mit der Jahreslaufzeit ihres Vertrages (Full-Service, Leasing…)
Die Grafik unten zeigt fünf wohlbekannte Gabelstapler-Hersteller (mit Ausnahme von Mitsubishi sind ihre Namen entfernt worden). In jedem Fall wurde das Hersteller-Datenblatt für einen 2,5 Tonnen Treibgasstapler herangezogen, um den Kraftstoffverbrauch zu ermitteln und zu vergleichen.
|
Rückschlüsse
Vergleicht man die Angaben der Hersteller, so wird schnell klar, dass es derzeit große Unterschiede zwischen den Kraftstoffverbrauchswerten der einzelnen Hersteller gibt. Wenn man diese auf einen kurzen oder auch längeren Zeitraum für eine gemäßigt intensive Anwendung überträgt, wird ersichtlich, dass Brennstoff einen großen Teil der Betriebskosten ausmacht – und damit natürlich auch ein wesentlicher Faktor bei der Kaufentscheidung sein kann.
Die Abbildungen zeigen, dass ein effizient genutzter Gabelstapler seinem Besitzer im Laufe einer typischen Vertragsdauer von fünf Jahren ungefähr 13.000 € Brennstoffkosten gegenüber dem unwirtschaftlichsten Stapler sparen kann – wobei die gegenwärtigen Kraftstoffpreise verwendet wurden, die mit Sicherheit noch weiter steigen werden.
- Konkrete Maßnahmen
- Ermitteln Sie Ihr persönliches Einsparungspotenzial mit dieser Formel (und mittels einer Schätzung der Intensität Ihrer gegenwärtigen Arbeitseinsätze) und vergleichen Sie Ihren derzeitigen Stapler mit einer energieeffizienteren Alternative.
- Wenn Sie Ihren nächsten verbrennungsmotorischen Gabelstapler kaufen, sollten Sie sich unbedingt die Verbrauchsangaben des Herstellers ansehen und diese mit dem Verkäufer besprechen.
- Fragen Sie Ihren lokalen Händler auch nach einem Vergleichsangebot für einen Elektro-Gabelstapler. Sie könnten angenehm überrascht werden (siehe unseren Artikel Elektro- oder Verbrennungsmotor: Welcher ist der Richtige?).







